资料下载

公司主营产品户〈 内〉外真空断路器、多〈少〉油断路器、隔离开关、跌落式熔断器、避雷器、绝缘子、高压熔断器、穿墙套管、负荷开关、电站金具等产品。

资料下载

公司简介

鹏高电气自创办以来,就实施高起点、高质量、高水平的“三高”战略,以完整科学的质量管理体系,倾力打造行业品牌。

企业文化

公司始终以“质量重于山,诚信大与海”经营方针,和以“质量为首”的立业宗旨,“我们始终努力的创新科技、专注质量品牌”。

产品中心

当前位置: 首页 > 产品中心 > 真空断路器 > ZN12-12型户内真空断路器

ZN12-12型户内真空断路器

详细信息
产品概述
在ZN12-12产品中,设计有斜装式(ZN12-12型)和平装式(ZN65-12)两种,ZN65是在ZN12的基础上加以改进而成,并开发了20kA容量真空断路器,使产品的系列化更齐全。
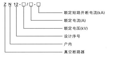
型号及其含义
使用环境条件
1、周围空气温度:上限+40℃(允许在-30℃时储运)。
2、海拔:≤1000m;
3、温度:空气相对湿度日平均值不大于95%;
饱和蒸汽日平均值不大于2.2×10-3MPa
4、振福:地震烈度不超过8度;
5、无火灾,爆炸,严重污秽,化学腐蚀及剧烈震动的场所。

主要技术参数
序号 项目 单位 参数
1 额定电压 kV 12
2 额定绝缘水平 1min工频耐受电压 kV 42(相间、相对地)48(断口)
雷电冲击耐受电压 72(相间、相对地)85(断口)
3 额定频率 Hz 50
4 额定电流 A 630 1250 1600 2000 2500 3150
5 额定短路开断电流(有效值) kA 20 25 31.5 40
6 额定短路关合电流(峰值) kA 50 63 80 100
7 4s额定短时耐受电流(有效值) kA 20 25 31.5 40
8 额定峰值耐受电流(峰值) kA 50 63 80 100
9 额定短路电流开断次数 50 30(40kA)
10 机械寿命 30000
11 额定操作顺序   分-0.3s-合分-180s-合分
12 额定单个电容器组开断电流 A 630
13 储能电机电压 V ≌220 ≌110
14 储能电机功率 W 200
15 合力闸电磁铁电压 V -220,-110
16 合力闸电磁铁电流 A DC0.89,DC1.91
17 过流脱扣器电流 A 5
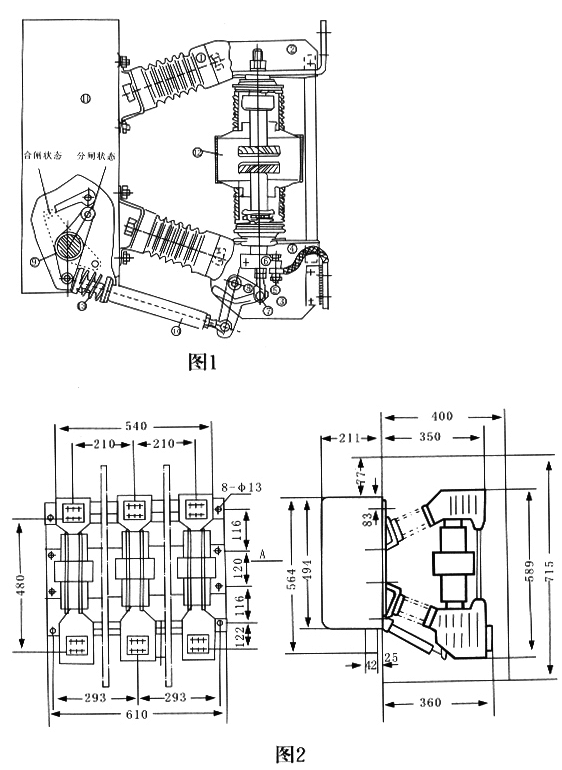
外形及安装尺寸图
产品样本
电子样本